
A Microsoft pode lançar a sua própria linha de mochilas com inteligência artificial (IA) no futuro, de acordo com patentes registradas pela marca recentemente. A documentação cita como podem ser os recursos do acessório, incluindo seu conjunto de câmeras, microfones internos e mais.
- Honor V Purse será lançado na China em 19 de setembro
- Review Echo Frames 2 | Uma Alexa para usar no rosto

De acordo com as ilustrações mostradas, as lentes seriam posicionadas nas alças da mochila, e voltadas para a frente. Portanto, o produto teria a capacidade de “ver o que o usuário vê”, o que pode ser útil em uma série de situações.
A ideia é que o algoritmo seja capaz de identificar quais objetos estão em volta, e assim oferecer informações contextualizadas em tempo real. Um exemplo seria o reconhecimento de itens em um supermercado, em que a mochila realizaria a pesquisa pelo melhor preço em outros locais.
–
Feedly: assine nosso feed RSS e não perca nenhum conteúdo do Canaltech em seu agregador de notícias favorito.
–
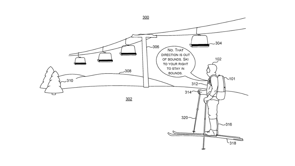
Além disso, o produto ainda poderia mostrar direções para que se chegue no local desejado, e até mostrar se é seguro realizar a prática da esquiagem em determinado lado de uma montanha. Assim como um relógio ou pulseira inteligente, a mochila monitoraria os dados corporais durante os exercícios físicos, por exemplo.

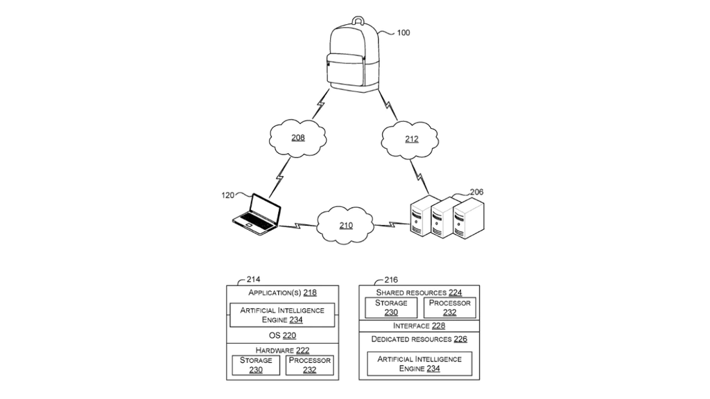
O acessório funcionaria de forma completamente integrada a serviços conectados em nuvem, incluindo agendas e calendários. Desta forma, o usuário poderia realizar uma anotação para a data de um show após visualizar um anúncio na rua, entre outras aplicações úteis.
Segundo a explicação oficial da Microsoft na patente, o conceito é relacionado a “um dispositivo vestível que pode funcionar como um assistente virtual que dispensa o uso das mãos”. Ele funcionaria em um processo composto por seis etapas, que incluem um comando manual para posterior realização do monitoramento do ambiente.

Outras mochilas com IA já foram apresentadas anteriormente
Mesmo que seja uma ideia pouco usual da Microsoft, produtos anteriores já mostraram propostas semelhantes. É o caso de uma mochila mostrada pela Intel em 2021, que usou a IA para auxiliar deficientes visuais a se locomover nas ruas.

Outras opções com recursos mais simples estão disponíveis no mercado, como a Cypress Hero Backpack da Targus. Neste caso, a mochila traz um sistema compatível com o serviço Apple Find My, uma bateria recarregável e mais.
Mesmo que a Microsoft tenha registrado a sua patente no U.S. Patent and Trademark Office (USPTO) em maio deste ano, a documentação não é suficiente para confirmar que o produto será apresentado ao público. Mais detalhes sobre a mochila podem ser revelados ao longo dos próximos meses, por meio de novos vazamentos.
Trending no Canaltech:
- Starfield | Por que eu desisti do jogo do ano
- DC estraga acidentalmente mistério sobre 2 Coringas na atual cronologia
- Nintendo Switch 2 | Vazamento sugere CPU mais potente que Tegra T239
- Cientista criam wafer 2D com espessura de um átomo
- Terapia com células-tronco recupera visão de pacientes com queimaduras químicas
- iPhone 15 | Como assistir evento da Apple ao vivo
Fonte: Canaltech
